It has been revealed that a new patent by Sony was recently leaked on the internet. This patent from Sony is titled, “Sony Mobile Game Controller”. From the design point of view, it is very similar to the DualShock 4, but it also has some additional features and tweaks.
Sony Mobile Game Controller
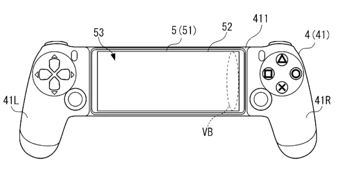
Sony has designed a mobile gaming controller, particularly for playing mobile games using the game controller for iOS and Android users. It has been announced that the Japanese branch (SIE Japanese division) of Sony issued a patent last week. This controller is similar to the DualShock 4 but only has one part, it is cut in half.

This one is like other smartphone controllers, that will hold the smartphone in between. The new mobile sticks look just like the old DualShock 4 and they even follow its basic design. However, thanks to their Bluetooth capability they also provide tilt-controls for games that didn’t originally offer them.
The controller will connect wirelessly to the smartphone via Bluetooth. Additionally, the controller will have its own battery and rumbling motors. This controller will require a smartphone to work. We don’t currently know more specific information about this device. According to the drawings, the device seems to have been heavily inspired by Nintendo’s Joy-Con controllers and even lets you connect to a bigger screen. However, this feature might only be available to those who own a PS4 console.

Sony Mobile game controllers are compatible with Android devices and also iOS. This means that it will be possible to play games from Apple Arcade Games on this device, as well as through cloud gaming. Sony has recently appointed Nicola Sebastiani as their new Mobile Gaming VP, and they seem focused on that for now, the former head of Apple’s Arcade content, to lead the company.

What CEO of Sony Has Said?
“We have been thinking about how players enjoy our content and have had some early success with experimenting with mobile games and apps to provide more choice to gamers. Mobile is just one of the areas we are exploring to reach millions of gamers beyond our platforms”
CEO Jim Ryan
FAQs
How can I use my phone as a gaming controller?
What type of gaming console does this patent cover?
What is the Sony Mobile Game Controller Patent?
Is it true that Sony’s mobile game controller will be used for all gaming consoles?
Does the patent apply to all mobile devices or only to certain mobile devices?
Conclusion
This mobile controller is designed for mobile devices as other brands have done the same for Xbox, PlayStation, a shaft portion, and others. The video game experience is definitely gonna be enhanced for mobile gamers, the players can remotely play and use other apps as well with this controller.
Sony has finally targetted the mobile market for amazing gadgets to enhance the experience of smartphone gaming. It is likely that this patent was leaked by Sony to create some hype around the mobile game controller. The patent was released a week earlier. This patent would have covered a mobile game controller with an accelerometer and gyroscope.
Spread the love